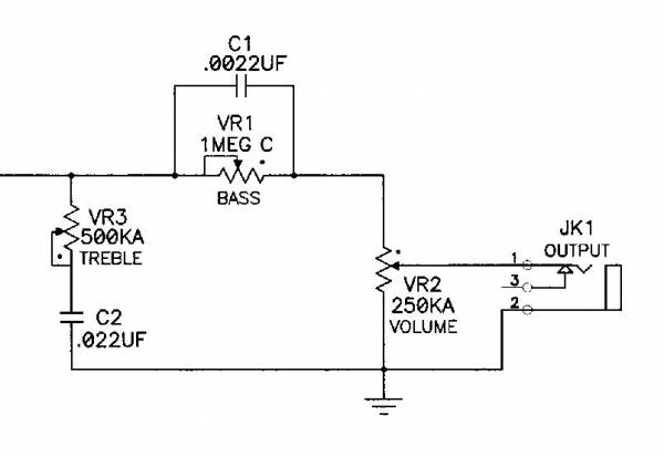
Yeah, I’m well aware of pickup heights and EQ, I’ve been playing and working on guitars long enough to know that.Quote:
Other ways to help ‘de-mud’ a humbucker are to reduce the height of the pickup, particularly the bass side, and you can just turn the mids up a bit on the EQ on the amp.
It’s not always that simple, I’m not the first person to be dissatisfied with neck humbucker tone that has sought a solution.
Just google “muddy neck humbucker” and see how many threads there are on the subject.

